平成21年12月28日判決 知的財産高等裁判所 平成21年(行ケ)第10125号
- 事件名
- :作業用アームレスト事件
- キーワード
- :進歩性,引例の認定の誤り
- 関連条文
- :特許法29条2項
- 主文
- :特許庁が不服2004-12734号事件について平成20年12月22日にした審決を取り消す。(以下,省略)
1.事案の概要
本件は,発明の名称を「作業用アームレスト」とする特許出願について拒絶査定を受けた原告が不服審判を請求したところ,特許庁は,本願発明は実開昭60-44651号公報に記載された発明(以下「引用発明」という。)並びに周知技術に基づいて当業者が容易に発明をすることができたものであるから,特許法29条2項の規定により特許を受けることができないとして拒絶審決をしたので,原告がその審決の取り消しを求めた事案である。原告主張の審決取消事由は,[1]引用発明の認定の誤り(取消事由1),[2]一致点の認定の誤り(取消事由2),[3]容易想到性の判断の誤り(取消事由3),[4]拒絶理由通知を欠いた手続違背(取消事由4)と多岐に亘るが,本判決では,取消事由1及び2について理由があると判断され,審決が取り消された。
2.本願発明の内容
特表2001-500771号公報(本願発明)
本願明細書(平成19年4月17日付手続補正後のもの)の特許請求の範囲および明細書には,以下の(1)ないし(3)の記載がある。
(1) |
特許請求の範囲(請求項2以下は省略) 【請求項1】 「上端が略水平方向に移動可能な垂直方向に配設された,上端にアームレストを有する弾性的支柱を備え,該アームレストは前記弾性的支柱が動くにつれて略水平方向に移動可能であり,前記弾性的支柱はロッド形の単一の支承要素からなっていて前記アームレストを弾力をもって支承するためのばねを有し,床から伸びていることを特徴とするコンピュータ作業場用の可動アームレスト。」 |
||||||||||||
(2) |
明細書(抜粋)
|
||||||||||||
(3) |
図面 | ||||||||||||
![]() |
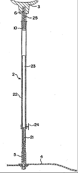
3.引用発明の内容
実開昭60-44651号公報(引用発明)
特許庁が主引例として挙げた上記刊行物には,以下の(1)ないし(3)の記載がある。
(1) |
特許請求の範囲 「弓型腋下受具(1)の両端に支棒(2)を設け,それにスプリング(5)を巻き上に出し,そこにT型上部を腋下支(6)と下部をパイプ(4)としてスプリング(5)にはめ込み,棒(2)の中位迄カバーした構造よりなる座軽快具。」 |
||||||||
(2) |
明細書(抜粋)
|
||||||||
(3) |
図面 | ||||||||
![]() |
4.審決が認定した事項
審決は,引用発明の内容,本願発明と引用発明との一致点及び相違点を下記(1)ないし(3)のとおり認定し,相違点について下記(4)のとおり判断した。
(1) |
引用発明の内容 「上端が略水平方向に移動可能な垂直方向に配設された支柱であって、腋下受具(1)に固着された支棒(2)にスプリング(5)を巻付け、上端に腋下支(6)を有する弾力性のあるパイプ(4)をそのスプリング(5)にはめ込んで構成した支柱を備え、該腋下支(6)は前記支柱のパイプ(4)が湾曲するにつれて略水平方向に移動可能であり、前記支柱は前記腋下支(6)を弾力をもって支承するためのスプリング(5)を有している座軽快具。」 |
(2) |
本願発明と引用発明との一致点 「上端が略水平方向に移動可能な垂直方向に配設された、上端に上肢部受台を有する弾性的支柱を備え、該上肢部支台は前記弾性的支柱が動くにつれて略水平方向に移動可能であり、前記弾性的支柱はロッド形の単一の支承要素からなっていて前記上肢部受台を弾力をもって支承するためのばねを有し、床から伸びている作業場用の上肢部支え具。」である点。 |
(3) |
本願発明と引用発明との相違点 本願発明は、コンピュータ作業場用の可動アームレストであり、上肢部受台がアームレストであるのに対して、引用発明は、作業場用の座軽快具であり、上肢部受台が腋下支である点。 |
(4) |
相違点に対する判断 上肢の一部である腕を支えるためのアームレストを備えた可動アームレスト自体は、例えば実願昭49-28071号(実開昭50-118105号)のマイクロフィルム、実願平1-95490号(実開平3-35757号)のマイクロフィルム、米国特許第4069995号明細書などに見られるように従来周知であり、この種の可動アームレストがコンピュータ作業場などで腕に疲労を与えることを防止するために使用されることも周知の事項である。 そうすると、当該周知技術に倣って引用発明の腋下支6をアームレストとなし、コンピュータ作業場などで使用する可動アームレストとする程度のことは、当業者であれば容易に想到できたことである。したがって、相違点に係る本願発明の発明特定事項は、引用発明に上記周知技術を適用して当業者が容易に想到できたものである。」 |
5.本判決の判示事項
(1) |
主文 特許庁が不服2004-12734号事件について平成20年12月22日にした審決を取り消す。(以下,省略) |
||||
(2) |
理由 裁判所は,審決には,[1]引用発明の認定の誤り,及び,[2]一致点の認定の誤りがあると判断し,その理由を以下のとおり判示した。
|
6.コメント
引用発明のパイプ(4)が,弾力性を有する部材で力を加えると撓んで湾曲し,湾曲するにつれて腋下支(6)が略水平に移動し得ると認められるか否かが争点となった。しかし,引例にはパイプ(4)が湾曲することの直接の記載も示唆もないこと,上記「3.」「(2)」「イ」の引用箇所の「弾力性のある…」との語が修飾しているのは「T型上部」であって「パイプ(4)」ではないと考えられること,引用発明のスプリング(5)は腋下に上方向への押上力を与えるための部材で,仮に,パイプ(4)も弾力性を有する場合,引用発明の構成では支棒(2)との間にこすれが生じて,上下動が妨げられる不都合が生じることなどからすると,審決の認定には無理があり,裁判所の判断が妥当と考える。審決と判決を比較すると,判決の方が,引用文献の記載に忠実に引用発明を認定しているものといえる。
(執筆者 山本 進 )





